- Category
- Latest news
Ukraine’s DIY Tank Armor Is So Effective, Even China and Russia Are Copying It

China has registered a patent for a foldable anti-drone protection system for tanks that closely resembles Ukraine’s so-called “hood,” according to Defense Express on September 30.
The development follows earlier reports that Russia had already adapted the Ukrainian design for its own armored vehicles.
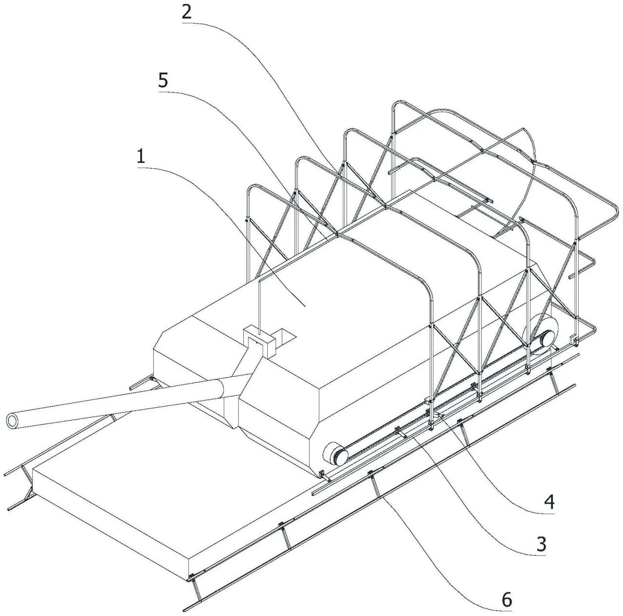
The Chinese version was patented by Dragon Shield Intelligence Equipment and is expected to be marketed under the name Dragon Shield.
While the core principle remains the same—a flexible protective net that shields armored vehicles from drones carrying explosive payloads—the company has introduced a more complex construction.
According to Defense Express, the Chinese design relies on sliding rails and motors that allow the structure to open or close automatically over a tank’s turret. This could simplify combat preparations by enabling the crew to activate the system from inside the vehicle.
However, the use of motors also raises questions about potential vulnerabilities in case of damage, and whether the system might obstruct a crew’s emergency exit.

Ukraine’s original “hood” system, widely used across the Armed Forces, is noted for its simplicity. It typically consists of a collapsible frame with several beams that can be opened or closed manually. The design gained recognition on the battlefield for its ability to mitigate the impact of first-person-view (FPV) drones and loitering munitions.
Russia acknowledged the effectiveness of the Ukrainian system, with assessments claiming it was one and a half times more reliable than their own counter-drone measures, before proceeding to copy the idea for its T-72 and T-80 tanks.

As Defense Express notes, the appearance of Chinese patents for both infantry fighting vehicle and tank protection systems underscores Beijing’s close monitoring of battlefield trends and its readiness to adapt solutions that have proven effective in Ukraine.
Earlier, Russian forces were documented reinforcing 2S19 Msta-S howitzers and MT-LB carriers with makeshift wooden armor. These improvised log coverings, intended to protect against Ukrainian FPV drones, underscored Moscow’s reliance on outdated battlefield fixes in the absence of modern protection systems.







-111f0e5095e02c02446ffed57bfb0ab1.jpeg)

-72b63a4e0c8c475ad81fe3eed3f63729.jpeg)

