- Category
- Latest news
China Patents Drone-Defense Armor for IFVs, Echoing Ukrainian Battlefield Innovations

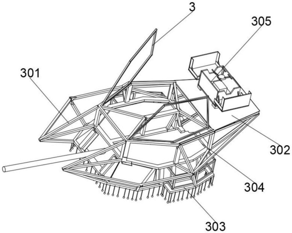
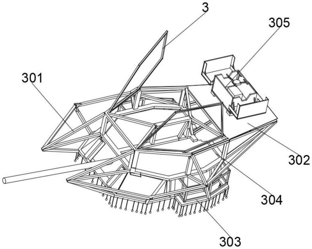
China has filed a patent for modular protective armor on infantry fighting vehicles (IFVs) that closely resembles Ukrainian battlefield solutions.
According to Defense Express on September 8, the design reflects lessons drawn from the widespread use of drones in the war against Russia.
The patent shows a layered composite grid mounted on the exterior of the vehicle. The concept includes dual-layered anti-drone meshes with a gap of 50–60 cm along the sides, 10 cm above the hull, and up to 80 cm above the so-called “cage” structure.

This spacing is intended to disrupt FPV drones and reduce the effectiveness of shaped-charge munitions.
The Chinese design includes several adaptations:
A deployable mesh hood resembling systems already fitted on Ukrainian BMP-1TS vehicles.
Composite plating over the troop compartment, which is traditionally vulnerable, though the addition of a hydraulic mechanism raises concerns about reliability.
Options for mounting ceramic plates or even explosive reactive armor, similar to solutions already seen on Western vehicles such as the US Bradley in service with Ukraine.
The concept also allows integration of electronic warfare systems and active protection complexes, features now common on modern armored platforms.
Defense Express notes that while the Chinese design looks more polished and futuristic, this is largely due to its appearance in a patent rather than as a field-tested system.
Ukrainian and Russian forces have already deployed improvised versions of similar protection, often prioritizing cost and practicality.
The report highlights that China continues to monitor the war in Ukraine and adapt observed technologies for its own defense industry.

While the patent does not confirm production, the secrecy surrounding Chinese weapons development suggests prototypes may already be under consideration.
Earlier, ChinaPower reported that Beijing cut arms imports from Russia by 40% between 2009 and 2023, relying instead on reverse-engineering and espionage. At least 21 cases of Chinese spying targeted Russia’s defense sector, while multiple weapons — from the J-11 fighter jet to the HQ-9 missile system — were developed by copying Russian designs.
Discuss this article:




-e99e7a3d5a4f6128bcd598e76c2f1974.png)
-72b63a4e0c8c475ad81fe3eed3f63729.jpeg)

-c439b7bd9030ecf9d5a4287dc361ba31.jpg)

