- Category
- Latest news
Russia Deploys Tethered Spy Drones to Shield Warships From Ukrainian Sea Drones

Russia has patented a new shipborne drone system aimed at countering Ukrainian unmanned surface vessel (USV) attacks by using fiber-optic–controlled multicopters deployed from warships.
According to Army Recognition on October 13, the system was developed by Murmansk Arctic University and is designed to maintain full functionality even under conditions of GPS spoofing and electronic warfare.
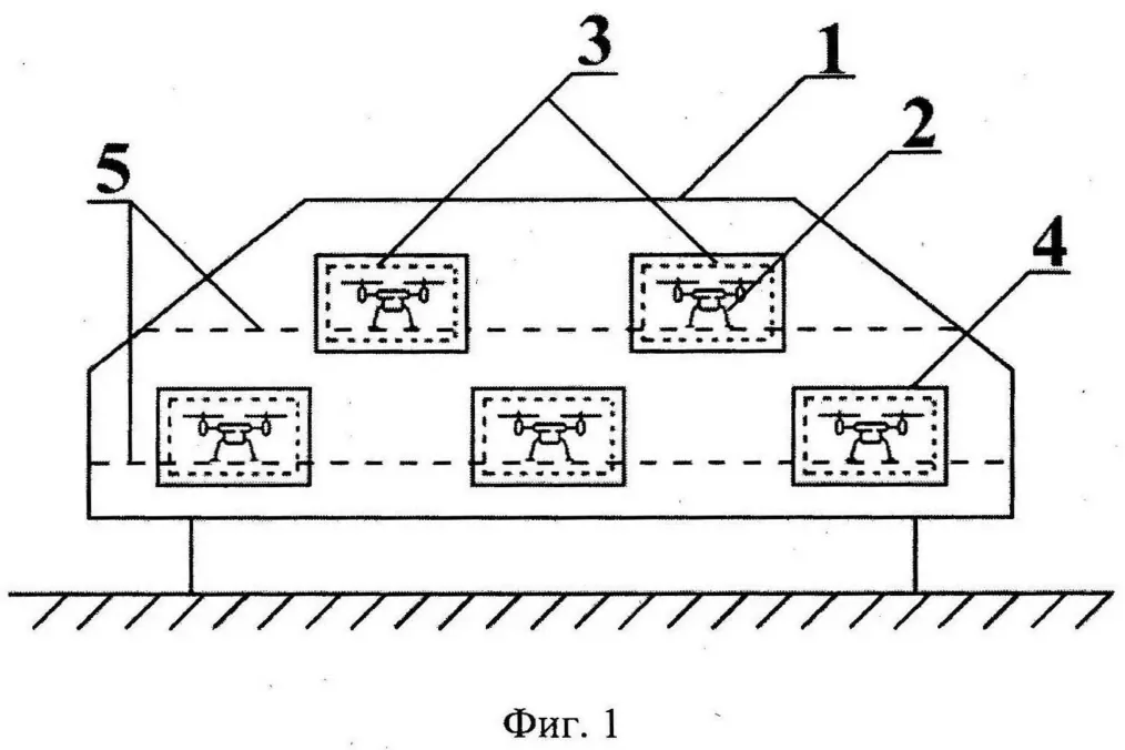
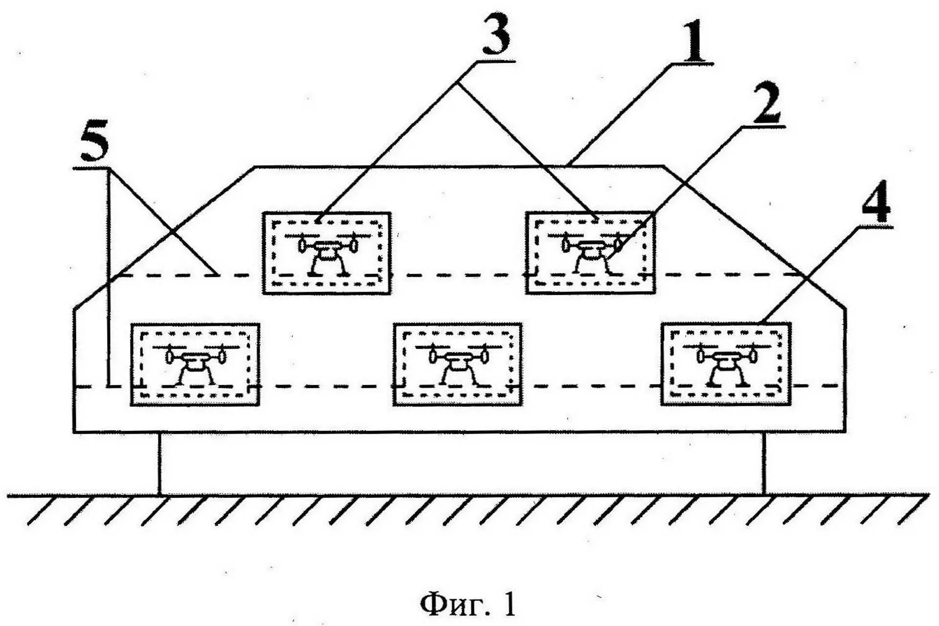
On September 16, 2025, Russia’s Murmansk Arctic University received a patent for a defensive system called a “shipborne launch vehicle for multicopters.”
The patent outlines a turret-mounted deployment unit that allows multicopter drones to be launched from warships while tethered via fiber-optic cables.

The goal is to protect Russian naval assets from Ukrainian sea drones by enhancing short-range surveillance and ensuring communication resilience.
The information was reported by Army Recognition, which examined the technical documentation and images from the patent. The system was patented by the university’s engineering team and aligns with recent Russian efforts to harden naval defenses.
The turret system is equipped with multiple sealed compartments containing multicopters. When a threat such as an approaching USV is detected, hatches open and conveyor belts extend the drones to the deck, allowing vertical takeoff.
Unlike conventional drones relying on radio frequencies or satellite links, these multicopters are tethered to the vessel with fiber-optic cables.

The tether transmits commands and live video feeds directly to the ship’s combat systems. This approach aims to bypass vulnerabilities in radio communications—such as jamming, signal loss, or latency—common during close-in naval operations.
The physical cable also defines a fixed operating perimeter, ensuring drones remain close to the vessel and protected from hijacking or loss of control.
The system integrates with a ship’s combat information center (CIC), feeding optical and radar data into the vessel’s situational awareness network. Drones can be used to monitor areas along the ship’s hull, inspect potential threats in the water, or observe the ship’s surroundings in real time.
Since 2022, Ukraine has conducted multiple attacks on Russian naval assets using USVs, starting with the October 2022 Sevastopol raid. Other significant strikes included the destruction of the landing ship Tsezar Kunikov in 2024, damage to the Olenegorsky Gornyak, and several operations involving the long-range “Sea Baby” and Magura V5 drones.

Ukrainian USVs have evolved significantly, with some now carrying explosive payloads of up to 850 kg and ranges exceeding 400 nautical miles. In 2024, Ukrainian engineers also equipped sea drones with aerial drones, rocket launchers, and repurposed air-to-air missiles for expanded combat functionality.
Russia has responded with passive defenses—such as nets, chains, and tires along hulls—and electronic warfare systems. However, these methods have provided limited protection.
The introduction of a tethered drone surveillance system indicates a shift toward more integrated, autonomous countermeasures designed to detect and track threats in real time without reliance on vulnerable wireless networks.
Earlier in September, Defense Express reported that Ukraine had introduced Sea Baby–type naval drones capable of launching fiber‑optic–guided FPV drones. The system, first seen during a strike on the Russian port of Tuapse, allows operators to control FPVs without interference from Russian electronic warfare, marking the first known use of jam‑proof fiber‑optic links in Ukraine’s naval operations.
-6c7b568bf1f65853b7afd9dc1c3ca1fe.jpeg)




-111f0e5095e02c02446ffed57bfb0ab1.jpeg)

-a73cc333f2e27e1f1060c9f12add47c8.jpg)
-72b63a4e0c8c475ad81fe3eed3f63729.jpeg)